產品分類PRODUCTS
宏達發貨記錄
Hongda delivery record
Hongda delivery record
- CZ倉壁振動器-50 2臺吉林四平 2012-02-27
- 振動平臺2米*1.5米 1臺福建三明 2012-02-27
- 振動平臺1*2米 1臺江西撫州 2012-02-27
- YZD-50-6B振動電機 2臺 廣西 2012-02-22
- XZS-1000旋振篩 1臺 山西太原 2012-02-22
- LZF-4倉壁振動器 2臺 貴州六盤水 2011-12-05
- YZD-2-4振動電機 2臺 江蘇無錫 2011-12-05
- YZD-10-6振動電機 1臺 山東青島 2011-12-05
- YZD-10-2振動電機 2臺 廣東 2011-12-05
產品展示PRODUCTS
產品介紹
YZG系列三相異步振動電機是我公司總結多年生產ZG系列慣性振動器的經驗,自行研制開發的。
YZG系列三相異步振動電機為各類機械通用型激振源,如振動給料機、振動輸送機、振動放礦機、振動落砂機、振動篩分機、料倉的振動防閉塞裝置等。廣泛應用于電力、機械、建材、礦山、鑄造、糧食、冶金、化工、港口等行業。
二、特點
YZG系列三相異步振動電機具有以下優點:
1、激振力與功率配合適當,機體質量輕、體積小。
2、利用平穩的回轉產生振動力,噪聲低。
3、全封閉結構,外殼防護等級IP54、IP55。
4、使用壽命長,軸承壽命2極達5000小時,4、6、8極達10000小時。
5、只需調節偏心塊夾角,就可實現無級調整激振力。
6、可多機組合形成多種振動形式,滿足各種作業要求。
7、機種豐富,規格齊全,能滿足各類振動機械的工作需要。
三、使用條件
環境溫度:-15℃~+40℃ 絕緣等級:F級
海 拔:<1000m 電源頻率:50 Hz
電 壓:380V 工作方式:連續S1
接 法:Y/△ 安裝方式:任意方向
四、型號舉例
二、特點
YZG系列三相異步振動電機具有以下優點:
1、激振力與功率配合適當,機體質量輕、體積小。
2、利用平穩的回轉產生振動力,噪聲低。
3、全封閉結構,外殼防護等級IP54、IP55。
4、使用壽命長,軸承壽命2極達5000小時,4、6、8極達10000小時。
5、只需調節偏心塊夾角,就可實現無級調整激振力。
6、可多機組合形成多種振動形式,滿足各種作業要求。
7、機種豐富,規格齊全,能滿足各類振動機械的工作需要。
三、使用條件
環境溫度:-15℃~+40℃ 絕緣等級:F級
海 拔:<1000m 電源頻率:50 Hz
電 壓:380V 工作方式:連續S1
接 法:Y/△ 安裝方式:任意方向
四、型號舉例
五、技術參數
|
序
號 |
型號
|
額定
激振力 kN |
額定
功率 kw |
額定
電流 A |
額定
轉速 轉/分 |
額定
電壓 V |
溫升
K |
絕緣
等級 |
防護
等級 |
重量
kg |
|
1
|
YZG1-0.09/2
|
0-1
|
0.09
|
0.32
|
2900
|
380
|
≤80
|
F
|
IP55
|
10
|
|
2
|
YZG2-0.18/2
|
0-2
|
0.18
|
0.59
|
2900
|
18
|
||||
|
3
|
YZG8-0.25/2
|
0-3
|
0.25
|
0.78
|
2900
|
20
|
||||
|
4
|
YZG5-0.37/2
|
0-5
|
0.37
|
1.10
|
2900
|
28
|
||||
|
5
|
YZG10-0.75/2
|
0-10
|
0.75
|
1.96
|
2900
|
48
|
||||
|
6
|
YZG20-1.5/2
|
0-20
|
1.5
|
3.67
|
2900
|
70
|
||||
|
7
|
YZG30-2.2/2
|
0-30
|
2.2
|
5.10
|
2900
|
106
|
||||
|
8
|
YZG50-3.7/2
|
0-50
|
3.7
|
8.43
|
2900
|
190
|
||||
|
9
|
YZG1-0.09/4
|
0-1
|
0.09
|
0.35
|
1450
|
12
|
||||
|
10
|
|
0-2.5
|
0.12
|
0.49
|
1450
|
20
|
||||
|
11
|
YZG5-0.25/4
|
0-5
|
0.25
|
0.85
|
1450
|
30
|
||||
|
12
|
YZG8-0.37/4
|
0-8
|
0.37
|
1.18
|
1450
|
50
|
||||
|
13
|
YZG10-0.55/4
|
0-10
|
0.55
|
1.76
|
1450
|
50
|
||||
|
14
|
YZG16-0.75/4
|
0-16
|
0.75
|
1.94
|
1450
|
76
|
||||
|
15
|
YZG20-1.1/4
|
0-20
|
1.1
|
2.85
|
1450
|
86
|
||||
|
16
|
YZG30-1.5/4
|
0-30
|
1.5
|
3.76
|
1450
|
110
|
||||
|
17
|
YZG40-2.0/4
|
0-40
|
2.0
|
4.70
|
1450
|
140
|
||||
|
18
|
YZG50-2.2/4
|
0-50
|
2.2
|
5.55
|
1450
|
200
|
||||
|
19
|
YZG60-3.0/4
|
0-60
|
3.0
|
7.36
|
1450
|
245
|
||||
|
20
|
YZG80-5.5/4
|
0-80
|
5.5
|
11.5
|
1450
|
340
|
||||
|
21
|
YZG100-7.5/4
|
0-100
|
7.5
|
16.88
|
1450
|
460
|
||||
|
22
|
|
0-1.5
|
0.12
|
0.5
|
960
|
20
|
||||
|
23
|
YZG3-0.25/6
|
0-3
|
0.25
|
1.0
|
960
|
32
|
||||
|
24
|
YZG5-0.37/6
|
0-5
|
0.37
|
1.36
|
960
|
55
|
||||
|
25
|
YZG8-0.55/6
|
0-8
|
0.55
|
1.60
|
960
|
65
|
||||
|
26
|
YZG10-0.75/6
|
0-10
|
0.75
|
2.46
|
960
|
78
|
||||
|
27
|
YZG16-1.1/6
|
0-16
|
1.1
|
3.38
|
960
|
96
|
||||
|
28
|
YZG20-1.5/6
|
0-20
|
1.5
|
4.48
|
960
|
120
|
||||
|
29
|
YZG25-1.85/6
|
0-25
|
1.85
|
5.56
|
960
|
150
|
||||
|
30
|
YZG30-2.2/6
|
0-30
|
2.2
|
6.20
|
960
|
200
|
||||
|
31
|
YZG45-3.0/6
|
0-45
|
3.0
|
8.30
|
960
|
250
|
||||
|
32
|
YZG50-3.7/6
|
0-50
|
3.7
|
9.38
|
960
|
300
|
||||
|
33
|
YZG60-4.5/6
|
0-60
|
4.5
|
11.50
|
960
|
380
|
||||
|
34
|
YZG80-5.5/6
|
0-80
|
5.5
|
13.6
|
960
|
420
|
||||
|
35
|
YZG100-7.5/6
|
0-100
|
7.5
|
17.12
|
960
|
520
|
||||
|
36
|
|
0-1.5
|
0.18
|
0.86
|
720
|
32
|
||||
|
37
|
YZG3-0.25/8
|
0-3
|
0.25
|
1.18
|
720
|
60
|
||||
|
38
|
YZG5-0.37/8
|
0-5
|
0.37
|
1.76
|
720
|
80
|
||||
|
39
|
YZG10-0.75/8
|
0-10
|
0.75
|
2.78
|
720
|
136
|
||||
|
40
|
YZG16-1.1/8
|
0-16
|
1.1
|
4.08
|
720
|
150
|
||||
|
41
|
YZG20-1.5/8
|
0-20
|
1.5
|
4.94
|
720
|
220
|
||||
|
42
|
YZG30-2.2/8
|
0-30
|
2.2
|
6.7
|
720
|
350
|
||||
|
43
|
YZG50-3.7/8
|
0-50
|
3.7
|
9.8
|
720
|
460
|
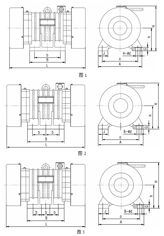
六、外型及安裝尺寸
*注:1. YZG系列電機外殼顏色為國際通用安全警告色,如客戶需要可另作說明。
2.用戶如在額定電源電壓、額定電源頻率、特別激振力、特別材質等方面有特殊要求時請詳細說明,本公司可按特殊要求制作。
2.用戶如在額定電源電壓、額定電源頻率、特別激振力、特別材質等方面有特殊要求時請詳細說明,本公司可按特殊要求制作。
|
序號
|
型號
|
L
|
B
|
b
|
A
|
c
|
h
|
H
|
G
|
d
|
圖 型
|
|
1
|
YZG1-0.09/2
|
220
|
70
|
40
|
150
|
120
|
65
|
155
|
13
|
10
|
圖1
|
|
2
|
YZG2-0.18/2
|
250
|
130
|
90
|
180
|
150
|
90
|
200
|
14
|
14
|
|
|
3
|
YZG3-0.25/2
|
250
|
130
|
90
|
180
|
150
|
90
|
200
|
14
|
14
|
|
|
4
|
YZG5-0.37/2
|
310
|
155
|
110
|
220
|
180
|
100
|
210
|
18
|
18
|
|
|
5
|
YZG10-0.75/2
|
400
|
195
|
140
|
265
|
220
|
120
|
225
|
22
|
22
|
|
|
6
|
YZG20-1.5/2
|
440
|
215
|
150
|
320
|
260
|
140
|
290
|
24
|
26
|
|
|
7
|
YZG30-2.2/2
|
490
|
240
|
170
|
380
|
310
|
160
|
340
|
30
|
32
|
|
|
8
|
YZG50-3.7/2
|
570
|
300
|
220
|
430
|
350
|
180
|
380
|
34
|
38
|
|
|
9
|
YZG1-0.09/4
|
230
|
70
|
40
|
150
|
120
|
65
|
155
|
13
|
10
|
|
|
10
|
|
250
|
130
|
90
|
180
|
150
|
90
|
200
|
14
|
14
|
|
|
11
|
YZG5-0.25/4
|
330
|
150
|
110
|
220
|
180
|
100
|
210
|
18
|
18
|
|
|
12
|
YZG8-0.37/4
|
390
|
140
|
140
|
265
|
220
|
120
|
225
|
22
|
22
|
|
|
13
|
YZG10-0.55/4
|
400
|
195
|
140
|
265
|
220
|
120
|
225
|
22
|
22
|
|
|
14
|
YZG16-0.75/4
|
440
|
215
|
150
|
320
|
260
|
140
|
290
|
24
|
26
|
|
|
15
|
YZG20-1.1/4
|
450
|
215
|
150
|
320
|
260
|
140
|
290
|
24
|
26
|
|
|
16
|
YZG30-1.5/4
|
490
|
240
|
170
|
380
|
310
|
160
|
340
|
30
|
32
|
|
|
17
|
YZG40-2.0/4
|
510
|
240
|
170
|
380
|
310
|
160
|
340
|
30
|
32
|
|
|
18
|
YZG50-2.2/4
|
570
|
300
|
220
|
430
|
350
|
180
|
380
|
34
|
38
|
|
|
19
|
YZG60-3.0/4
|
620
|
300
|
220
|
430
|
350
|
180
|
3910
|
34
|
38
|
|
|
20
|
YZG80-5.5/4
|
680
|
360
|
250
|
460
|
380
|
200
|
440
|
38
|
38
|
圖2
|
|
21
|
YZG100-7.5/4
|
740
|
380
|
280
|
530
|
440
|
220
|
460
|
38
|
45
|
|
|
22
|
|
256
|
130
|
90
|
180
|
150
|
90
|
200
|
14
|
14
|
圖1
|
|
23
|
YZG3-0.25/6
|
330
|
150
|
110
|
220
|
180
|
100
|
210
|
18
|
18
|
|
|
24
|
YZG5-0.37/6
|
402
|
195
|
140
|
265
|
220
|
120
|
225
|
22
|
22
|
|
|
25
|
YZG8-0.55/6
|
410
|
195
|
140
|
265
|
220
|
120
|
225
|
22
|
22
|
|
|
26
|
YZG10-0.75/6
|
430
|
215
|
150
|
320
|
260
|
140
|
290
|
24
|
26
|
|
|
27
|
YZG16-1.1/6
|
460
|
215
|
150
|
320
|
260
|
140
|
290
|
24
|
26
|
|
|
28
|
YZG20-1.5/6
|
520
|
240
|
170
|
380
|
310
|
160
|
340
|
30
|
32
|
|
|
29
|
YZG25-1.85/6
|
550
|
240
|
170
|
380
|
310
|
160
|
|
|
|



